Menetes tengellyel rögzíthető, robusztus sínfogó
fix függesztési pont kialakítására.
Széles spektrumban állítható.
Megfelel a Gépek Direktíva 2006/42/CE előírásainak.
A Delta BC típusú haladóművek 1 t -20 t teherbírás tartományban készülnek.
Webáruházban 1 t - 3 t közötti modelleket értékesítünk.
Eltérő igényekkel keressen minket!
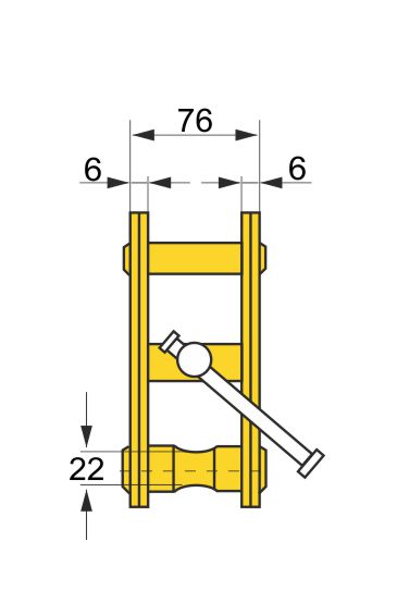
Méretek (mm) - teljes modellválaszték:


| típus | BC-1 | BC-2 | BC-3 | BC-5 | BC-10 | BC-20 |
|
gerendatalp szélesség min. - max. mm |
75-220 | 75-220 | 80-320 | 80-320 | 90-320 | 90-370 |
|
|
1 t |
2 t |
3 t |
5 t |
10 t |
20 t |
| a min. | 180 | 180 | 235 | 235 | 320 | 512 |
| a max. | 360 | 360 | 490 | 490 | 505 | 713 |
| b | 215 | 215 | 260 | 260 | 260 | 431 |
| c min. | 102 | 102 | 140 | 140 | 170 | 315 |
| c max. | 155 | 155 | 225 | 225 | 225 | 361 |
| d | 5 | 6 | 8 | 10 | 12 | 16 |
| e | 74 | 76 | 103 | 110 | 120 | 196 |
| f | 22 | 22 | 24 | 28 | 40 | 70 |
| g max. | 20 | 20 | 20 | 20 | 20 | 20 |
|
saját tömeg kg |
3,8 | 4,6 | 9 | 11 | 16 | 39,6 |
BC-2 típusú gerendafogó 2 t teherbírással, 75-220 mm befogó tartománnyal.
Méretek (mm) - teljes modellválaszték:


4,6 kg
75 mm
220 mm