Kovácsolt, horganyzott szerelvény.
Alkalmas fülek képzésére acélsodronyköteleknél,
elsősorban mezőgazdasági, vontatási munkaterületeken.
Nem alkalmas emeléstechnikai és tartószerkezeti célokra!
3 - 40 mm névleges mérettartományban érhető el.
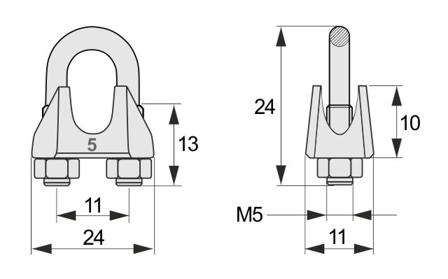
Méretek (mm):

|
névleges méret |
3 | 5 | 6 | 8 | 10 | 12 | 14 | 16 | 20 | 22 | 26 | 30 | 32 | 40 |
|
kötél Ø mm |
2-3 | 4-5 | 6 | 7-8 | 9-10 | 11-12 | 13-14 | 15-16 | 18-20 | 22 | 24-26 | 28-30 | 32 | 36-40 |
| a | 21 | 24 | 26 | 30 | 37 | 44 | 46 | 52 | 58 | 64 | 68 | 80 | 80 | 95 |
| b | 10 | 11 | 12 | 14 | 20 | 25 | 25 | 28 | 32 | 35 | 38 | 40 | 40 | 48 |
| c | 10 | 10 | 11 | 15 | 19 | 23 | 5 | 28 | 34 | 35 | 38 | 45 | 45 | 58 |
| d | M4 | M5 | M5 | M6 | M8 | M10 | M10 | M12 | M12 | M14 | M14 | M16 | M16 | M16 |
| i | 9 | 11 | 13 | 16 | 20 | 25 | 27 | 30 | 34 | 38 | 42 | 50 | 50 | 60 |
| L | 20 | 24 | 28 | 34 | 42 | 55 | 57 | 63 | 75 | 85 | 95 | 110 | 118 | 140 |
| L1 | 12 | 13 | 15 | 19 | 22 | 30 | 30 | 33 | 38 | 44 | 45 | 50 | 50 | 60 |
|
menet névleges mérete |
M4 | M5 | M5 | M6 | M8 | M10 | M10 | M12 | M12 | M14 | M14 | M16 | M16 | M16 |
A kötélszorító bilincs névleges mérete megfelel a maximális illeszthető kötélátmérőnek.
A névleges kötélátmérő köztes méreteinél a következő nagyobb bilincsméretet kell használni.
A méretek a névleges méreteknek felelnek meg tűrés és bevonat nélkül.

Kiválasztási és szerelési sorrend
1. Névleges méret
A kötél tényleges méretének ismeretében kell kiválasztani a megfelelő kötélszorító bilincset.
2. Bilincsek száma
Az alkalmazandó bilincsek száma legalább kötési helyenként:
|
kötél Ø mm |
3 | 5 | 6 | 8 | 10 | 12 | 14 | 16 | 20 | 22 | 26 | 30 | 32 | 40 |
|
bilincsek száma legalább db |
3 | 3 | 3 | 4 | 4 | 4 | 4 | 4 | 4 | 4 | 5 | 5 | 6 | 6 |
Speciális vagy különösen veszélyes alkalmazásoknál szilárdsági számítást kell végezni a megfelelő méretű és számú bilincs kiválasztáshoz.
Az alkalmazandó szorítóbilincsek számának meghatározásánál figyelembe kell venni a felhasználási környezetet, a dinamikus igénybevétel mértékét és a terhelés nagyságát.
3. Kötélszív
A kötélszorító bilincsek alkalmazása során a visszafordított kötélvégbe kötélszívet kell beépíteni.
4. Szerelési irány
A bilincset úgy kell a kötélre helyezni, hogy a meghúzandó hatlapú anyák a „hosszú” kötálág felőli oldalon legyenek.
5. Kötél alkalmassága
- Zsírozott vagy zsíros kötél esetén a kötésben résztvevő szakaszt és elemeket meg kell tisztítani szerelés
előtt a kenőanyagtól illetve az esetleges szennyeződésektől olyan módszerrel, amely nem okoz kötélkárosodást.
- Műanyagbevonatos kötelek esetén a kötelet a kötésben résztvevő szakaszon le kell „csupaszolni” szerelés
előtt és ebben az esetben a letisztított kötélátmérőhöz kell kiválasztani a megfelelő bilincsméretet.
- A szabad vagy rövid kötélvéget úgy kell lezárni (pl. bandázsolással, izzításos vágással, stb.), hogy az ne bomolhasson szét.
- Forgásmentes, forgásszegény, alakított pászmás, speciális illetve Seale-szerkezetű kötelek esetén a
forgalmazó szaktanácsát kell kérni a kötélszorító bilincsek alkalmazási feltételeiről.
- Spirálkötelekhez nem használható!
Korlátozni kell a használhatóságot az alábbi esetekben:
Magas vagy alacsony környezeti hőmérsékletű kedvezőtlen környezetben:
- a kötélszorító bilincs rendeltetésszerűen -20-tól +80 °C-ig használható, ennél alacsonyabb vagy magasabb hőmérsékletű alkalmazás esetén
a gyártó írásos állásfoglalását kell kérni; a függesztéket érő legalacsonyabb illetve legmagasabb hőmérsékletet kell figyelembe venni.
Savas vagy egyéb vegyileg veszélyes helyen:
- a kötélszorító bilincset nem szabad savba meríteni, vagy savas, savgőzös helyen használni, az adott alkalmazásra
a gyártó adott környezetre vonatkozó állásfoglalását kell kérni.
Különösen veszélyes körülmények esetén:
- hasadó anyagok, olvasztott fém, erősen korrozív környezet, stb. a veszély mértékét illetékes személynek kell meghatározni
és a lehetséges alkalmazás módját előírni.
Horganyzott kötélszorító bilincs kereskedelmi minőségben, DIN 741 szerint,
4-5 mm átmérőjű sodronykötelekhez.
Méretek (mm):

0,02 kg