Fix rögzítésű emelési pont metrikus menettel.
Relatív pontos mérettartású, horganyzott acél szerelvény.
Megfelelőség:EN harmonizált szabványok / "Gépek Direktíva" előírásai.
Webáruházunkban M6 - M30 mérettartományban rendelhető. Egyéb méretekkel kapcsolatban keressen minket!
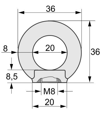
Terhelhetőség és méretek (mm) - teljes méretsorozat:


| d | M6 | M8 | M10 | M12 | M14 | M16 | M18 | M20 | M22 | M24 | M27 | M30 | M33 | M36 | M39 | M42 | M45 |
|
0º |
0,07 t |
0,14 t |
0,23 t |
0,34 t |
0,5 t |
0,7 t |
0,85 t |
1,2 t |
1,4 t |
1,8 t |
2,1 t |
3,2 t |
4,2 t |
4,6 t |
6 t |
6,3 t |
7,8 t |
| b | 36 | 36 | 45 | 54 | 54 | 63 | 63 | 72 | 72 | 90 | 98 | 108 | 108 | 126 | 144 | 144 | 166 |
| h | 36 | 36 | 45 | 53 | 53 | 62 | 62 | 71 | 71 | 90 | 99 | 109 | 109 | 128 | 147 | 147 | 168 |
| a | 20 | 20 | 25 | 30 | 30 | 35 | 35 | 40 | 40 | 50 | 54 | 60 | 60 | 70 | 80 | 80 | 90 |
| c | 20 | 20 | 25 | 30 | 30 | 35 | 35 | 40 | 40 | 50 | 62 | 65 | 65 | 75 | 85 | 85 | 100 |
| f | 8 | 8 | 10 | 12 | 12 | 14 | 14 | 16 | 16 | 20 | 22 | 24 | 24 | 28 | 32 | 32 | 38 |
|
saját tömeg kg |
0,06 | 0,06 | 0,1 | 0,17 | 0,15 | 0,26 | 0,24 | 0,41 | 0,36 | 0,75 | 0,8 | 1,4 | 1,27 | 2,03 | 3,2 | 3,05 | 5 |
M8 névleges méretű horganyzott gyűrűsanya DIN 582 szerint.
Méretek (mm) és terhelhetőség (t)



Minőségi tanúsítvány: MSZ EN 10204-2.1 szerint.
6:1
-20 °C - + 200 °C között használható!
0,06 kg